Η Porsche αποδεικνύει ότι ο θερμικός κινητήρας παραμένει κομβικός στα μελλοντικά της πλάνα, αρκεί να συνδυάζεται με έξυπνες υβριδικές λύσεις. Αυτό αποκαλύπτει νέα πατενταρισμένη διάταξη, η οποία παρουσιάζει έναν καινοτόμο υβριδικό κινητήριο συνδυασμό με σαφή στόχο τη βελτίωση απόδοσης και απλότητας.
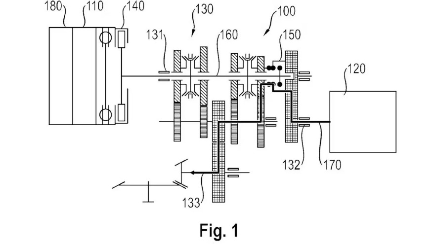
Στο επίκεντρο βρίσκεται ένα τετρατάχυτο αυτόματο κιβώτιο, το οποίο λειτουργεί ως μονάδα διαχείρισης ισχύος και όχι ως απλή μετάδοση. Το σύστημα βασίζεται σε δύο ανεξάρτητους μηχανικούς διαδρόμους ισχύος, επιλέγοντας κάθε φορά ποιος θα ενεργοποιηθεί, αντί για τη συνεχή άθροιση ροπής.
Η διάταξη περιλαμβάνει δύο ηλεκτροκινητήρες και έναν θερμικό κινητήρα. Ο πρώτος ηλεκτροκινητήρας υποστηρίζει τις κλασικές λειτουργίες ενός υβριδικού συστήματος, ενώ ο δεύτερος μπορεί να κινήσει το όχημα αμιγώς ηλεκτρικά μέσω του κιβωτίου. Το μεγάλο πλεονέκτημα της νέας αρχιτεκτονικής είναι η δυνατότητα ηλεκτρικής οδήγησης σε πολύ υψηλές ταχύτητες. Σύμφωνα με την πατέντα, η Porsche αναφέρει ηλεκτρική λειτουργία έως περίπου 193 χλμ./ώρα, ξεπερνώντας κατά πολύ τα σημερινά plug-in hybrid της μάρκας, που περιορίζονται γύρω στα 135 χλμ./ώρα.
Παράλληλα, υποστηρίζεται και σειριακή λειτουργία, όπου ο θερμικός κινητήρας λειτουργεί αποκλειστικά ως γεννήτρια, στο ιδανικό εύρος απόδοσης, βελτιώνοντας την αποδοτικότητα σε σταθερή οδήγηση.
Η υψηλή και άμεσα διαθέσιμη ροπή των ηλεκτροκινητήρων επιτρέπει στην Porsche να καταργήσει το 8τάχυτο PDK, περιορίζοντας τις σχέσεις στις τέσσερις. Το όφελος είναι σαφές: μικρότερο βάρος, λιγότερα μηχανικά μέρη, μειωμένες απώλειες και αυξημένη αξιοπιστία, χωρίς συμβιβασμούς στις επιδόσεις. Η πατέντα δείχνει ξεκάθαρα τη φιλοσοφία της Porsche: ηλεκτροκίνηση όπου προσφέρει πλεονεκτήματα, μηχανική απλότητα όπου έχει νόημα. Το αν και πότε η τεχνολογία θα περάσει στην παραγωγή παραμένει άγνωστο, όμως η κατεύθυνση είναι απολύτως σαφής.
Ο Νίκος Σταθόπουλος, Πρόεδρος της BC Partners, βασικού μετόχου του Ομίλου Alphabet Education στον οποίον ανήκουν το Keele University Greece, το Μητροπολιτικό Κολλέγιο και η ΑΚΜΗ, μίλησε στο 11ο Οικονομικό Φόρουμ των Δελφών, τονίζοντας ότι επιθυμούν να προσφέρουν σε κάθε φοιτητή βιώσιμες, μεταβιβάσιμες δεξιότητες για να εξελιχθεί σε έναν κόσμο που αλλάζει συνεχώς.
Η ιστορική πόλη των Δελφών βρέθηκε ξανά στο επίκεντρο ενός διαλόγου που ξεπερνά τα όρια μιας διοργάνωσης και αγγίζει τις μεγάλες προκλήσεις της εποχής μας, συγκεντρώνοντας κορυφαίες προσωπικότητες από τον επιχειρηματικό, πολιτικό και ακαδημαϊκό χώρο.
Η επιτυχία με την πρώτη προσπάθεια έχει γίνει το ιερό δισκοπότηρο της υποβοηθούμενης αναπαραγωγής, καθώς προστατεύει το ζευγάρι από την οικονομική ασφυξία.