Στη λίστα με τις εταιρίες που βλέπουν την προσομοίωση χειροκίνητου κιβωτίου ως λύση για τη δημιουργία μιας πιο συμμετοχικής εμπειρίας στα ηλεκτρικά μοντέλα μπαίνει και η Ford η οποία κατέθεσε σχετική πατέντα για ένα τέτοιο σύστημα.
Είναι αλήθεια πως τα αμιγώς ηλεκτρικά αυτοκίνητα δεν προσφέρουν στον μέσο οδηγό την αίσθηση συμμετοχικότητας και οδηγικής ικανοποίησης που έχουν τα συμβατικά με χειροκίνητο κιβώτιο. Πόσο μάλλον όταν οι αλλαγές γίνονται με επιλογέα. Ωστόσο, ορισμένοι κατασκευαστές είτε έχουν ήδη αναπτύξει λύση σε αυτό το ζήτημα, είτε σχεδιάζουν τη δική τους ενόψει της επερχόμενης κυριαρχίας των BEV. Με τη Hyundai να έχει πετύχει διάνα στο Ioniq 5 N, την BMW να ετοιμάζει κάτι παρόμοιο για την ηλεκτρική M3 και την Toyota να σχεδιάζει τη δική της εκδοχή της προσομοίωσης χειροκίνητου κιβωτίου σε ηλεκτρικό μοντέλο, η Ford δε θα μπορούσε να λείπει από την εξίσωση.
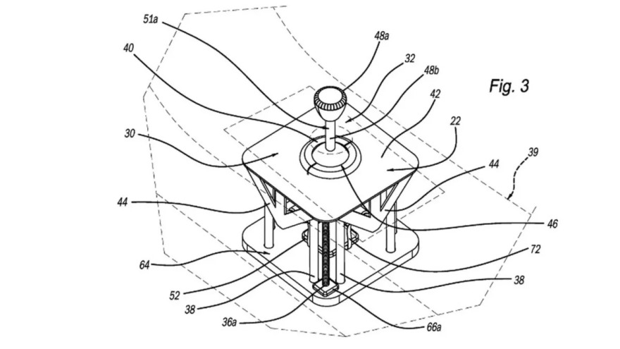
Η εφαρμογή που έχει σχεδιάσει η εταιρεία από το Ντιτρόιτ κατατέθηκε ως έγγραφο ευρεσιτεχνίας στο USPTO, με τα σκίτσα να βλέπουν πρόσφατα το φως της δημοσιότητας. Σε αυτά, βλέπουμε έναν επιλογέα μέσω του οποίου ο οδηγός θα μπορεί να αλλάζει σχέσεις κατά το δοκούν, όπως στο Ioniq 5 N (μόνο που εκεί υπάρχουν paddles), με τη διάταξη να είναι τύπου Η. Θεωρητικά θα μπορούσε να υπάρχει και σειριακή λειτουργία.
Ως κατασκευή, δε διαφέρει σημαντικά με ένα συμβατικό χειροκίνητο κιβώτιο, καθώς τα εξαρτήματα και τα πλαστικά είναι παρόμοια τοποθετημένα. Η Ford δηλώνει πως θέλει να προσφέρει στο κοινό την απτική αίσθηση και το οδηγικό feedback που το βοηθάει να ευχαριστιέται περισσότερο την οδήγηση. Δυστυχώς, κανείς δε γνωρίζει στα σίγουρα εάν θα δούμε αυτή την πατέντα σε μοντέλο παραγωγής της εταιρείας. Και εφόσον γίνει, η Ford θα το συνδυάσει πιθανότατα με τα σπορτίφ μοντέλα όπως η ηλεκτρική Mustang και το Capri. Μέχρι τότε, παραμένει μόνο στη θεωρία μία εξαιρετική ιδέα για όσους θέλουν να χαίρονται την οδήγηση.
Την Παγκόσμια Ημέρα Νερού, κάθε σταγόνα φυσικό μεταλλικό νερό ΒΙΚΟΣ μας θυμίζει ότι η ενυδάτωση δεν είναι μόνο καθημερινή συνήθεια, αλλά μια πράξη φροντίδας για τον οργανισμό και τη φύση.
Οι καινοτόμες φόρμουλες της LA VIE EN ROSE χαρίζουν μια μοναδική εμπειρία απόλαυσης και αναζωογόνησης – Τα premium πασχαλινά δώρα με πραγματική αξία και ορατά αποτελέσματα.
Οι πρόσφατοι ηλεκτρονικοί έλεγχοι για τα ανασφάλιστα οχήματα ανέδειξαν το πρόβλημα με τον πιο ξεκάθαρο τρόπο. Χιλιάδες ιδιοκτήτες οχημάτων εντοπίστηκαν να κυκλοφορούν χωρίς ασφάλιση, κάτι που δεν επηρεάζει μόνο τους ίδιους, αλλά συνολικά την ασφάλεια στους ελληνικούς δρόμους. Και αυτό ενώ η λύση είναι και απλή και προφανής.